白荆回廊旧友无多烙痕图鉴有什么效果?旧友无多是《白荆回廊》中的一张烙痕卡,那么它有什么效果,能够提供哪些加成呢?接下来就由小编给大家带来了详细的《白荆回廊》旧友无多烙痕效果一览,希望这篇文章可以帮到大家!

《白荆回廊》旧友无多烙痕效果一览:
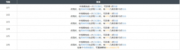
1.烙痕特质

2.漫巡技能

3.烙痕唤醒

白荆回廊旧友无多烙痕图鉴有什么效果?旧友无多是《白荆回廊》中的一张烙痕卡,那么它有什么效果,能够提供哪些加成呢?接下来就由小编给大家带来了详细的《白荆回廊》旧友无多烙痕效果一览,希望这篇文章可以帮到大家!

1.烙痕特质

2.漫巡技能

3.烙痕唤醒

发表评论 取消回复